SRC Awarded Contract Under Missile Defense Agency's SHIELD IDIQ Program
SRC, Inc. ("SRC" or "Company"), a not-for-profit defense research and development company, has been named one of the awardees under the Missile Defense Agency...
SRC, Inc. ("SRC" or "Company"), a not-for-profit defense research and development company, has been named one of the awardees under the Missile Defense Agency...
SRC, Inc. ("SRC" or "Company"), a defense research and development company, announced today that its cutting-edge Generic Multi-Function Array system (also...
SRC, Inc. ("SRC" or "Company"), a not-for-profit defense research and development company, has been awarded a $24M contract by the Air Force Research...
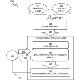
The U.S. Patent and Trademark Office has issued SRC, Inc. a patent for its "Method and Apparatus for Detecting Breathing Radar Targets," enabling radar systems...
SRC, Inc. ("SRC" or "Company"), a not-for-profit defense research and development company, announced today the delivery of its 100th Gryphon™ R1540 radar...
SRC, Inc. (“SRC” or “Company”), a not-for-profit defense research and development company, announced today that it will deliver a suite of its advanced...
SRC, Inc. (“SRC” or “Company”), a not-for-profit defense research and development company, today announced the expansion of its Gryphon™ Multi-Mission Radar...